Patch: Alle PS3s sollen jetzt PS2 abwärtskompatibel werden! GERÜCHT?

Diskutiere Patch: Alle PS3s sollen jetzt PS2 abwärtskompatibel werden! GERÜCHT? im Software, Media und Netzwerk Forum im Bereich Playstation 3; So obwohl ich eigentlich ein Verfechter solcher Gerüchte bin habe ich hier 2 sehr interessante News gelesen.Ich denke die Gerüchteküche brodelt...
Status
Für weitere Antworten geschlossen.
  • Patch: Alle PS3s sollen jetzt PS2 abwärtskompatibel werden! GERÜCHT? Beitrag #21
So obwohl ich eigentlich ein Verfechter solcher Gerüchte bin habe ich hier 2 sehr interessante News gelesen.Ich denke die Gerüchteküche brodelt wieder :D



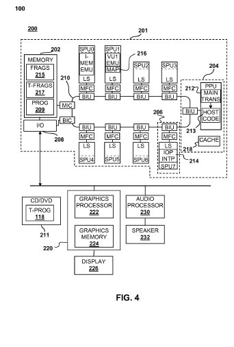
Laut der Webseite könnte genau das möglich sein: Dort hat man nämlich von einem Patent erfahren, das eine Emotion Engine Emulations-Technologie für Cell-Prozessoren beinhaltet. Zur Erinnerung: Die Emotion Engine war der Hauptprozessor der PlayStation 2. Sollte man es also schaffen, diesen einzig durch Software zu emulieren, stünde einer erneuten Abwärtskompatibilität zu PS2-Spielen nichts mehr im Weg.

Fraglich ist allerdings, ob diese Technologie auch mit derzeitigen PS3 Konsolen funktionieren wird und per Software Update nachgereicht werden könnte. Wenn ich den Patenteintrag und das unten gezeigte Beispiel einer derartigen Lösung richtig deute, wird es auch hardwareseitig einige Änderungen geben. Möglich wäre eine fester Einbau in einer eventuell kommenden PS3 Slim.
[align=center]
emusta.jpg
[/align]
 
  • Patch: Alle PS3s sollen jetzt PS2 abwärtskompatibel werden! GERÜCHT? Beitrag #22
@ derFuxxx:Ich würd da auch eher zur Xbox 360, hab aber schon ne PS2 und werd mir so schnell keine andere Konsole holen.
Aber du bist eines der besten Beispiele, das der Patch nicht notwendig ist, denn du wirst auch ein PS2-Game nicht länger auf der PS3 spielen, wenn du im Schrank noch einen Haufen an guten PS3 Games hast. Ich brauch den Patch nicht, zocke dafür einfach zu wenig PS2 Games (evtl. 1 mal in zwei bis drei Monaten).

Wenn ich nach der Produktion der PS2 geh, dann erscheint der Patch dieses Jahr sowieso nicht mehr, da dieses Jahr insgesamt mehr als 100 Spiele für die PS2 erscheinen. Und so schlecht verauft die sich auch nicht, sonst würde sie nicht mehr produziert werden ;)

Zu den News: Das mit der Emulation der PS2 Software sollte kein Problem sein, denn auf der EUropäischen 60 GB PS3 wurde dies eben auch nur mit ner Softwareemulation geöst. Nur die Japanischen und Amerikanischen Konsolen hatten dazu den PS2 Chip noch onboard.

Ich glaub das eh erst wenn es wirklich soweit ist....
 
  • Patch: Alle PS3s sollen jetzt PS2 abwärtskompatibel werden! GERÜCHT? Beitrag #23
Naja ich versuch das bissl spezieller zu sehen. Wer sagt denn das die vielleicht erscheinende Abwärtskompatibilität für ALLE PS2 spiele gillt? Vielleicht wirds auch ne Art software die die einige wichtige Games abspielen kann. Metal Gear Solids, Final Fantasies, Shadow of the Colossus und Ico zum Last Guardian Release hin etc.

Vielleicht ist das ganze auch nur für Games ausm Store gedacht. Weil mit PS2 games ausm PSN store könnten sie nochmal richtig Geld machen. Ich würd mir definitiv ICO und Shadow of the Collosus für 10 euro im Store kaufen wenn man bedenkt was man für die online hinlegt.

Das das dieses Jahr nicht mehr rauskommt würd ich auch nicht sagen. Das Jahr ist noch lang ;P

Letzten endes sind das aber alles nur vermutungen... dementsprechend kann man eigentlich nur warten bis wirklich was offizielles raus kommt.
 
  • Patch: Alle PS3s sollen jetzt PS2 abwärtskompatibel werden! GERÜCHT? Beitrag #24
Naja, wenn es nur für Games aus dem Store wäre, dann würde ich es noch ganz gut finden, da würd ich mir dann auch noch da ein oder andere aus dem Store holen. Naja, mal abwarten und Kaffee trinken kaffee
 
  • Patch: Alle PS3s sollen jetzt PS2 abwärtskompatibel werden! GERÜCHT? Beitrag #25
ich bin mir nicht ganz sicher aber kann es sein das man genau diese software im amerikanischen store herunterladen kann?
habe da sowas gesehen...
kann natürlich sein das ich mich irre.guckt mal selber.
mfg
 
  • Patch: Alle PS3s sollen jetzt PS2 abwärtskompatibel werden! GERÜCHT? Beitrag #26
nein das ist glaube ich nur für die alte PS3 ein Update oder so was.
Also es bringt nichts für 80GB usw. User
 
  • Patch: Alle PS3s sollen jetzt PS2 abwärtskompatibel werden! GERÜCHT? Beitrag #27
Ich halte es für mehr als nur wahrscheinlich, dass wir innerhalb der nächsten 12 Monate ein solches Update bekommen.
Sind wir doch mal ganz ehrlich, die PS3 hängt mit rund 10 Mio verkauften Konsolen hinter der Xbox360 und man kann für 100€ die PS2 weiter verkaufen, oder aber die PS3 für 300€ mit PS2 Funktionalität anbieten. Ich denke, dass so einige User dann doch eher die Mehrkosten von 200€ in Kauf nehmen würden, zumal der Kauf von einer Memorycard entfällt (womit weitere 15€ abgezogen werden müssten) und man nicht nur PS2, sondern halt auch in den Genuss von PS3 Titel und Blurays kommen würde.

Zumal nicht jeder PS3 Nutzer bereit ist, sich eine PS2 zu kaufen (habe seit rund 5 Jahren keine mehr), wohl aber doch bereit wäre, sich die Software zu kaufen, zumal diese mit rund 20€ (Spiele wie FF X, XII oder GT4) unglaublich preiswert ausfällt.
So könnte man Spiele wie God of War 3 zum Beispiel bundeln mit GoW 1+2, was zu noch besseren Verkäufen führen würde (Siehe Geschäftsstrategie von Metroid auf der Wii).
Ich denke das würde sehr vielen Leuten doch noch den entscheidenden Kaufgrund geben.

Zum Thema möglich oder nicht, halte ich es definitiv für möglich. Ich denke, man hat nur Angst, durch die Emulation sich selbst eine Lücke ins System zu reissen und einen Hack (siehe PSP) zu riskieren. Denn jeder P4 kann Heutzutage die PS2 emulieren, ausserdem hat die EU Revision der PS3 60GB auch nur eine Softwareseitige Emulation ermöglicht, die Hardwareseitige Emulation geschah nur bei der US und JAP Version.

Ich denke, es wird wieder interessanter auf dem Konsolenmarkt, sollte sich diese Angelegenheit schon bald bewahrheiten.

mfg
ophasis
 
  • Patch: Alle PS3s sollen jetzt PS2 abwärtskompatibel werden! GERÜCHT? Beitrag #28
Wie sieht es eigendlich aus bei der neuen ps3 läuft da was in richtug abwärtskompatibel?
 
  • Patch: Alle PS3s sollen jetzt PS2 abwärtskompatibel werden! GERÜCHT? Beitrag #29
Aktuell nicht nein.
 
  • Patch: Alle PS3s sollen jetzt PS2 abwärtskompatibel werden! GERÜCHT? Beitrag #30
Die meinige spielt noch PS2-Games, find ich ab und an mal ganz amüsant.

Die PS2 hat nun mein Sohn, aber ich zock trotzdem mal gerne die Klassiker und kaufe ab und an mal ein Schnäppchen auf dem Trödel oder dem Händler meines Vertrauens (dort bietet er Spiele ab 6€ an (gebraucht). Hin und wieder ist da mal was interessantes bei.
 
  • Patch: Alle PS3s sollen jetzt PS2 abwärtskompatibel werden! GERÜCHT? Beitrag #31
Bei der Pressekonferenz hieß es doch, dass es eindeutig keine Abwärtskompatibilität mehr geben wird. Oder irre ich mich da?
 
  • Patch: Alle PS3s sollen jetzt PS2 abwärtskompatibel werden! GERÜCHT? Beitrag #32
Nein irrst dich nicht...

Wurde ganz klar so gesagt!
 
  • Patch: Alle PS3s sollen jetzt PS2 abwärtskompatibel werden! GERÜCHT? Beitrag #33
Richtig.

Closed.
 
Status
Für weitere Antworten geschlossen.
Thema:

Patch: Alle PS3s sollen jetzt PS2 abwärtskompatibel werden! GERÜCHT?

Patch: Alle PS3s sollen jetzt PS2 abwärtskompatibel werden! GERÜCHT? - Ähnliche Themen

PS3 und PS2 an Medion-Monitor anschließen: Hey Leute:rockon: Ich hab eine Frage: Ich habe von einem Freund einen Computer-Monitor geschenkt bekommen. Da ich keinen Fernseher besitze, will...
PS4 - Das deutsche FAQ: PS4 System Details PS4 Game Line-Up PS4 Gebrauchte Spiele DUALSHOCK 4 Anschließbare Geräte & Zubehör PlayStation Kamera PS Vita Remote Play...
Fehlerhafte Car-Modelle / Bug-List: Hallo, darf ich euch mal mit paar Sachen nerven. Also ich bin eigentlich Fan seit GT1, aber GT5 ist für mich wirklich wenig zufriedenstellend. Es...
Neuer GT5 Patch 1.06: DER NEUE GT PATCH IM ÜBERBLICK Wichtige Änderungen und neue Features Remote-Rennen Oben links im Bereich [Community] des [GT-Modus] wurden...
Gran Turismo 5 FAQ: Hallo Gemeinde! Da viele Fragen im GT5 Sammelthread immer wieder auftauchen, durchforste ich den Sammelthread mal und mache ein FAQ. Ich würde...

Zurzeit aktive Besucher

Keine Mitglieder online.
Oben